项目名称:一种生物实验室防污染智能分类垃圾桶
项目成员:游世洋、杨璐璇
项目简介:
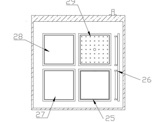
生物实验室是进行生物学科相关的实验场所。在进行生物实验时大部分的生物实验垃圾都没有得到很好的处理,大多实验室是用一个普通垃圾桶收集实验废弃物,具有安全隐患。生物实验室的设备设计不完善或实验过程个人安全保护漏洞,会使生物污染扩散传播,带来不良后果,生物实验室产生的废液、平时的实验器材、细菌培养基和细菌阳性标本都可能成为传播源。本发明结合生物和机械知识提供一种生物实验室防污染智能分类垃圾桶,其包括废液收集箱和固体废弃物收集箱,固体废弃物收集箱中设置有针头注射器收集桶、玻璃耗材收集桶、塑料耗材收集桶和生物废弃物收集桶,通过控制面板二驱动传动机构将对应的固定废弃物输入到对应的收集桶中。解决了不同的生物污染物和有害的污染物容易导致病菌在实验室内传播的技术问题。本项目正在申请专利授权,申请号为:2022210134281.4。

图1 垃圾桶规划成品图

图2 固体废弃物收集箱的部分设计

图3 液体废弃物收集箱的部分设计